Брно электродвигателя что это
ЭЛЕКТРОлаборатория
БРНО или Борно
Приветствую Вас, друзья.
Сегодня короткой строкой, как бы в продолжение или в дополнение к статьям про измерение сопротивления изоляции электродвигателей, расскажу про БРНО.
БРНО – блок расключения начал обмоток. Иногда это слово произносится как «Борно». Возможно. и так правильно. По словарю Брокгауза и Ефрона слово «Борны» означает клеммы в электротехнике.
На статоре любого электродвигателя есть данное приспособление. Оно служит для подключения питающего кабеля к обмоткам статора электродвигателя.
Для данной статьи разобрал двигатель 18,5 кВт.
Вот так выглядит клеммник установленный в БРНО:
Отверстия по углам служат для крепления клеммника к корпусу БРНО или непосредственно статора электродвигателя.
В прямоунольное окно посередине из статора выводятся концы (начала) обмоток и сажаются на шпильки. Их шесть штук.
На три нижние по рисунку сажаются начала обмоток статора. Эти клеммы имеют маркировку слева направо U1; V1: W1 (может быть и российская маркировка С1; С2; С3)
На клеммы три верхние по рисунку сажаются концы обмоток. Клеммы маркируются слева направо W2; U2; V2 ( либо С6; С4; C5)
Не трудно догадаться что одной и той же буквой обозначаются начало и конец одной обмотки.
Если нет уверенности, что при сборке выводы обмоток правильно расключили. Всегда можно вызвонить тестером выводы одной и той же обмотки.
Почему верхние клеммы кажутся отмаркированными странным образом. Это сделано для того чтобы с помощью перемычек можно было соединить обмотки электродвигателя как в схему «звезда» так и в схему «треугольник».
На данном рисунке обмотки собраны по схеме «звезда». Концы обмоток соединены между собой, на начала подается питание 380В.
На данном рисунке обмотки соединены по схеме «треугольник» — начало одной обмотки соединено с концом другой, начало другой с концом третьей и начало третьей с концом первой. Напряжение питания подано в точки их соединений.
К чему я вообще это все рассказываю.
Часто мне задают вопрос: Можно ли измерить сопротивление изоляции между обмотками статора электродвигателя? И если можно, то как?
Так вот отвечаю. Если у двигателя есть такой клеммник в БРНО, то можно. Для этого нужно лишь снять перемычки. Без перемычек обмотки статора будут отсоединены друг от друга.
К сожалению часто обмотки соединяют внутри статора путем пайки или сварки и отключение их друг от друга без разборки невозможно. В таком случае проверяется сопротивление изоляции обмоток статора к корпусу и все.
Добавить комментарий Отменить ответ
Этот сайт использует Akismet для борьбы со спамом. Узнайте, как обрабатываются ваши данные комментариев.
nataliyatovmach.pro
Ответ:
Аббревиатура – Блок Распределения Начал Обмоток. Правильнее сказать коробка выводов.
Когда в литературе по электротехнике или на форумах встречаются такие термины, как “брно электродвигателя” расшифровка становится увлекательным экскурсом в историю развития электротехники.
Сразу надо оговориться, что сейчас этот термин используется крайне редко.
Услышать его можно от пожилых электриков старой школы, которые козыряют этим словом, заранее зная, что их вряд ли поймут те, к кому они обращаются. Зато это дает им возможность “поучить молодежь”.
Техническая версия происхождения названия
По поводу происхождения этого термина, существует две версии, каждая из которых вполне правдоподобна.
Историко-лингвистическая версия
По второй версии, термин произошел от названия “борн или борны”.
Вот, что по этому поводу говорит словарь Брокгауза и Ефрона: “Борны (иначе называемые клеммами)- в электротехнике означают на динамоэлектрических машинах и других электрических приборах медные зажимы для закрепления проводов (проводников, проволок)”. Если за основную принять эту версию, то становится понятным и другие произношения названия клеммной коробки – “брно электродвигателя”, или “борновая коробка”.
Назначение брно
БРН электродвигателя- это клеммная коробка, в которой производится соединение выводов обмоток асинхронного электродвигателя. Способ соединения этих выводов, определяет схему по которой будет подключаться двигатель – звезда или треугольник.
Выбор схемы включения зависит от конструкции двигателя и напряжения питающей сети. Конструктивно, выпускающиеся в настоящее время отечественные двигатели, рассчитаны на подключение к трехфазной сети 220/380 В по схеме “звезда”. Если рассмотреть все варианты, получаем следующее:
сеть 127/220 В (стандарт применявшийся в СССР до 60-х годов и почти не сохранившийся) – современные двигатели подключаются треугольником.
сеть 220/380 (230/400) В (выпускаются в Западной Европе) – к нашим сетям подключаются только треугольником;
Однофазная сеть 220 В – при подключении трехфазного асинхронного электродвигателя к однофазной сети, с использованием конденсаторов, обмотки соединяются треугольником.
В редких случаях, применяется комбинированное подключение к сети 220/380 В, когда во время пуска, для уменьшения пусковых токов, двигатель включается звездой, а после статора и набора оборотов – переключается на треугольник, В этом случае концы обмоток выводятся в шкаф управления и брно не используется.
Независимо от происхождения термина “брно”, или его вариантов “барно” или “борн”, – речь идет о клеммной коробке электродвигателя, в которой коммутируются концы обмоток.
БРНО, расшифровка

Техническая версия происхождения названия
По поводу происхождения этого термина, существует две версии, каждая из которых вполне правдоподобна. Согласно первой, наиболее распространенной, брно – аббревиатура, расшифровывающаяся как «блок расключения (или распределения) начал обмоток». Такая расшифровка выглядит вполне приемлемой, так как термином «брно двигателя», обозначается клеммная коробка, установленная на его корпусе, и в ней действительно соединяются определенным образом (расключаются) выводы концов обмоток электродвигателя.
Возможно, что причиной появления столь странного для русского языка названия, стало чрезмерное увлечение аббревиатурами в 20 30 х годах, когда и происходила «электрификация всей страны». Название «ГОЭЛРО», кстати, тоже аббревиатура – «Государственный план электрификации России».
Историко-лингвистическая версия
По второй версии, термин произошел от названия «борн или борны». Вот что по этому поводу говорит словарь Брокгауза и Ефрона: «Борны (иначе называемые клеммами) — в электротехнике, означают на динамоэлектрических машинах и других электрических приборах медные зажимы для закрепления проводов (проводников, проволок)». Если за основную принять эту версию, то становится понятным и другие произношения названия клеммной коробки – «барно электродвигателя», или «борновая коробка».
Назначение брно
Итак, с этимологией все неопределенно, зато с электротехникой все просто и понятно. Брно электродвигателя, это клеммная коробка, в которой производится соединение выводов обмоток асинхронного электродвигателя. Способ соединения этих выводов, определят схему, по которой будет подключаться двигатель – звезда или треугольник. Выбор схемы включения зависит от конструкции двигателя и напряжения питающей сети. Конструктивно, выпускающиеся в настоящее время отечественные двигатели, рассчитаны на подключение к трехфазной сети 220/380 В по схеме «звезда». Если рассмотреть все варианты, получим следующее:
В редких случаях, применятся комбинированное подключение к сети 220/380 В, когда во время пуска, для уменьшения пусковых токов, двигатель включается звездой, а после старта и набора оборотов – переключается на треугольник. В этом случае концы обмоток выводятся в шкаф управления и брно не используется.
Независимо от происхождения термина «брно», или его вариантов «барно» и «борн», – речь идет о клеммной коробке электродвигателя, в которой коммутируются концы обмоток. Как видно из приведенного выше списка вариантов подключений, такие переключения необходимы при эксплуатации электродвигателей в различных режимах.
Как называется клеммная коробка электродвигателя. Брно, расшифровка
Когда в литературе по электротехнике или на профильных форумах встречаются такие термины, как «брно электродвигателя», расшифровка становится увлекательным экскурсом в историю развития электротехники. Сразу надо оговориться, что сейчас этот термин используется крайне редко. Услышать его можно разве что от пожилых электриков старой школы, которые козыряют этим словом, заранее зная, что их вряд ли поймут те, к кому они обращаются. Зато это дает им возможность «поучить молодежь», а заодно устроить внеплановый перекур.
Техническая версия происхождения названия
Историко-лингвистическая версия
Назначение брно
Как запускать трехфазный асинхронный двигатель от однофазной сети?
Самый простой способ запуска трехфазного двигателя в качестве однофазного, основывается на подключении его третьей обмотки через фазосдвигающее устройство. В качестве такого устройство может выступать активное сопротивление, индуктивность или конденсатор.
Прежде, чем подключать трехфазный двигатель в однофазную сеть, необходимо убедиться, что номинальное напряжение его обмоток соответствуют номинальному напряжению сети. Асинхронный трехфазный двигатель имеет три статорных обмотки. Соответственно в клемной коробке должно быть выведено 6 клемм для подключения питания. Если открыть клеммную коробку, то мы увидим борно двигателя. На борно, выведены 3 обмотки двигателя. Их концы подключены к клеммам. На эти клеммы и подключается питание двигателя.
Каждая обмотка имеет начало и конец. Начала обмоток маркируют как С1, С2, С3. Концы обмоток промаркированы соответственно С4, С5, С6. На крышке клемной коробки мы увидим схему включения двигателя в сеть при разных напряжениях питания. Согласно этой схемы мы и должны подключить обмотки. Т..е. если двигатель допускает использование напряжений 380/220, то для его подключения к однофазной сети 220В, необходимо переключить обмотки в схему «треугольник».
Если же его схема подключения допускает 220/127 В, то к однофазной сети 220 В, его необходимо подключать по схеме «звезда», как показано на рисунке.
Схема с пусковым активным сопротивлением
На рисунке показана схемы однофазного включения трехфазного двигателя с пусковым активным сопротивлением. Такая схема используется только в двигателях малой мощности, так как в резисторе теряетя большое количество энергии в виде тепла.
Наибольшее распространение получили схемы с конденсаторами. Для изменения направления вращения двигателя необходимо применять переключатель. В идеале для нормальной работы такого двигателя необходимо, чтобы емкость конденсатора изменялась в зависимости от числа оборотов. Но такое условие выполнить довольно трудно, поэтому обычно применяют схему двухступенчатого управления асинхронным электродвигателем. Для работы механизма, приводимого в движение таким двигателем, используют два конденсатора. Один подключается только при запуске, а после окончания пуска его отключают и оставляют только один конденсатор. При этом происходит заметное снижение его полезной мощности на валу до 50…60% от номинальной мощности при включении в трехфазную сеть. Такой пуск двигателя получил название конденсаторного пуска.
При применении пусковых конденсаторов имеется возможность увеличить пусковой момент до величины Мп/Мн=1,6-2. Однако, при этом значительно увеличивается емкость пускового конденсатора, из за чего вырастают его размеры и стоимость всего фазосдвигающего устройства. Для достижения максимального пускового момента, величину емкости необходимо выбирать из соотношения, Xc=Zk, т. е. емкостное сопротивление равно сопротивлению короткого замыкания одной фазы статора. По причине высокой стоимости и габаритов всего фазосдвигающего устройства конденсаторный пуск применяется лишь при необходимости большого пускового момента. В конце пускового периода пусковой обмотки необходимо отключить, в противном случае пусковая обмотка перегреется и сгорит. В качестве пускового устройства можно применять индуктивность- дроссель.
Пуск трехфазного асинхронного двигателя от однофазной сети, через частотный преобразователь
Для пуска и управления трехфазным асинхронным двигателем от однофазной сети, можно применять преобразователь частоты с питанием от однофазной сети. Структурная схема такого преобразователя представлена на рисунке. Пуск трехфазного асинхронного двигателя от однофазной сети с помощью преобразователя частоты является одним из самых перспективных. Поэтому именно он наиболее часто используется в новых разработках систем управления регулируемыми электроприводами. Принцип его лежит в том, что, меняя частоту и напряжение питания двигателя, можно в соответствии с формулой, изменять его частоту вращения.
Сам преобразователь состоит состоят из двух модулей, которые обычно заключены в один корпус:
— модуль управления, который управляет функционированием устройства;
— силовой модуль, который питает двигатель электроэнергией.
Применение преобразователя частоты для пуска трехфазного асинхронного двигателя. позволяет значительно снизить пусковой ток, так как электродвигатель имеет жесткую зависимость между током и вращающим моментом. Причем значения пускового тока и момента можно регулировать в достаточно больших пределах. Кроме того с помощью частотного преобразователя можно регулировать обороты двигателя и самого механизма, уменьшая при этом значительную часть потерь в механизме.
Недостатки применения частотного преобразователя для пуска трехфазного асинхронного двигателя от однофазной сети: достаточно высокая стоимость самого преобразователя и периферийных устройств к нему. Появление несинусоидальных помех в сети и снижение показателей качества сети.
Электродвигатели – самые распространенные в мире электрические машины. Ни одно промышленное предприятие, ни один технологический процесс без них не обходится. Вращение вентиляторов, насосов, перемещение лент конвейеров, движение кранов – вот неполный, но уже весомый перечень задач, решаемых с помощью двигателей.
Однако есть один нюанс работы всех без исключения электромоторов: в момент старта они кратковременно потребляют большой ток, называемый пусковым.
При подаче напряжения на обмотку статора скорость вращения ротора равна нулю. Ротор нужно стронуть с места и раскрутить до номинального частоты вращения. На это тратится значительно большая энергия, чем та, что нужна для номинального режима работы.

В момент протекания пускового тока из сети потребляется значительная мощность, расходуемая на выведение электродвигателя на номинальный режим работы. Чем мощнее электромотор, тем большая мощность для разгона ему требуется. Не все электрические сети переносят этот режим без последствий.
Перегрузка питающих линий неизбежно приводит к снижению напряжения в сети. Это не только еще более затрудняет процесс запуска электродвигателей, но и влияет на других потребителей.
Да и сами электродвигатели во время пусковых процессов испытывают повышенные механические и электрические нагрузки. Механические связаны с увеличением вращающего момента на валу. Электрические же, связанные с кратковременным увеличением тока, воздействуют на изоляцию обмоток статора и ротора, контактные соединения и пусковую аппаратуру.
Методы снижения пусковых токов
Маломощные электромоторы с недорогой пускорегулирующей аппаратурой вполне достойно запускаются и без применения каких-либо средств. Снижать их пусковые токи или изменять частоту вращения нецелесообразно экономически.
Но, когда влияние на режим работы сети в процессе запуска оказывается существенным, пусковые токи требуют снижения. Этого добиваются за счет:
Для каждого механизма подходит один или несколько указанных методов.
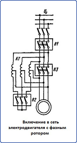
Электродвигатели с фазным ротором

Снижение пускового тока достигается за счет поэтапного вывода из цепи ротора резисторов. Первоначально, в момент подачи напряжения, к ротору подключено максимально возможное сопротивление. По мере разгона реле времени один за другим включают контакторы, шунтирующие отдельные резистивные секции. В конце разгона добавочное сопротивление, включенное к цепи ротора, равно нулю.
Крановые двигатели не имеют автоматического переключения ступеней с резисторами. Это происходит по воле крановщика, передвигающего рычаги управления.
Переключение схемы соединения обмоток статора

За счет этого достигается некоторая универсальность применения асинхронных электродвигателей. Схема включения звездой рассчитывается на большую ступень напряжения (например, 660В), треугольником – на меньшую (в данном примере – 380В).
Но при номинальном напряжении питания, соответствующем схеме с треугольником, можно воспользоваться схемой со звездой для предварительного разгона электромотора. При этом обмотка работает на пониженном напряжении питания (380В вместо 660), и пусковой ток снижается.
Для управления процессом переключения потребуется дополнительный кабель в брно электродвигателя, так как задействуются все 6 выводов обмоток. Устанавливаются дополнительные пускатели и реле времени для управления их работой.
Частотные преобразователи
Первые два метода можно применить не везде. А вот последующие, ставшие доступными относительно недавно, позволяют осуществить плавный пуск любого асинхронного электродвигателя.
Частотный преобразователь – сложное полупроводниковое устройство, сочетающее силовую электронику и элементы микропроцессорной техники. Силовая часть выпрямляет и сглаживает сетевое напряжение, превращая его в постоянное. Выходная часть из этого напряжения формирует синусоидальное с изменяемой частотой от нуля до номинального значения – 50 Гц.
За счет этого достигается экономия электроэнергии: приводимые во вращение агрегаты не работают с избыточной производительностью, находясь в строго требуемом режиме. К тому же технологический процесс получает возможность тонко настраиваться.
Но важное в спектре рассматриваемой проблемы: частотные преобразователи позволяют осуществлять плавный пуск электродвигателя, без толчков и рывков. Пусковой ток полностью отсутствует.
Устройства плавного пуска
Устройство плавного пуска электродвигателя – это тот же частотный преобразователь, но с ограниченным функционалом. Работает он только при разгоне электродвигателя, плавно изменяя скорость его вращения от минимально заданного значения до номинальной.
Чтобы исключить бесполезную работу устройства по окончании разгона электродвигателя, рядом устанавливается шунтирующий контактор. Он подключает электродвигатель напрямую к сети после завершения запуска.
При выполнении модернизации оборудования – это самый простой метод. Он зачастую может быть реализован своими руками, без привлечения узкопрофильных специалистов. Устройство устанавливается на место магнитного пускателя, управляющего пуском электромотора. Может потребоваться замена кабеля на экранированный. Затем в память устройства вносятся параметры электромотора, и оно готово к действию.
А вот с полноценными частотными преобразователями справиться самостоятельно по силам не каждому. Поэтому их применение в единичных экземплярах обычно лишено смысла. Установка частотных преобразователей оправдана лишь при проведении общей модернизации электрооборудования предприятия.
Вопрос: Что такое барно электродвигателя и как расшифровывается аббревиатура БАРНО?
Аббревиатура – Блок Распределения Начал Обмоток. Правильнее сказать коробка выводов.
Когда в литературе по электротехнике или на форумах встречаются такие термины, как “брно электродвигателя” расшифровка становится увлекательным экскурсом в историю развития электротехники.
Сразу надо оговориться, что сейчас этот термин используется крайне редко.
Услышать его можно от пожилых электриков старой школы, которые козыряют этим словом, заранее зная, что их вряд ли поймут те, к кому они обращаются. Зато это дает им возможность “поучить молодежь”.
Техническая версия происхождения названия
По поводу происхождения этого термина, существует две версии, каждая из которых вполне правдоподобна.
По второй версии, термин произошел от названия “борн или борны”.
Вот, что по этому поводу говорит словарь Брокгауза и Ефрона: “Борны (иначе называемые клеммами)- в электротехнике означают на динамоэлектрических машинах и других электрических приборах медные зажимы для закрепления проводов (проводников, проволок)”. Если за основную принять эту версию, то становится понятным и другие произношения названия клеммной коробки – “брно электродвигателя”, или “борновая коробка”.
БРН электродвигателя- это клеммная коробка, в которой производится соединение выводов обмоток асинхронного электродвигателя. Способ соединения этих выводов, определяет схему по которой будет подключаться двигатель – звезда или треугольник.
Выбор схемы включения зависит от конструкции двигателя и напряжения питающей сети. Конструктивно, выпускающиеся в настоящее время отечественные двигатели, рассчитаны на подключение к трехфазной сети 220/380 В по схеме “звезда”. Если рассмотреть все варианты, получаем следующее:
сеть 127/220 В (стандарт применявшийся в СССР до 60-х годов и почти не сохранившийся) – современные двигатели подключаются треугольником.
сеть 220/380 (230/400) В (выпускаются в Западной Европе) – к нашим сетям подключаются только треугольником;
Однофазная сеть 220 В – при подключении трехфазного асинхронного электродвигателя к однофазной сети, с использованием конденсаторов, обмотки соединяются треугольником.
В редких случаях, применяется комбинированное подключение к сети 220/380 В, когда во время пуска, для уменьшения пусковых токов, двигатель включается звездой, а после статора и набора оборотов – переключается на треугольник, В этом случае концы обмоток выводятся в шкаф управления и брно не используется.
Независимо от происхождения термина “брно”, или его вариантов “барно” или “борн”, – речь идет о клеммной коробке электродвигателя, в которой коммутируются концы обмоток.
sushiandbox.ru Осваиваем ПК — Интернет. Скайп. Социальные сети. Уроки по Windows.
БРНО, расшифровка
Когда в литературе по электротехнике или на профильных форумах встречаются такие термины, как «брно электродвигателя», расшифровка становится увлекательным экскурсом в историю развития электротехники. Сразу надо оговориться, что сейчас этот термин используется крайне редко. Услышать его можно разве что от пожилых электриков старой школы, которые козыряют этим словом, заранее зная, что их вряд ли поймут те, к кому они обращаются. Зато это дает им возможность «поучить молодежь», а заодно устроить внеплановый перекур.
Техническая версия происхождения названия
По поводу происхождения этого термина, существует две версии, каждая из которых вполне правдоподобна. Согласно первой, наиболее распространенной, брно – аббревиатура, расшифровывающаяся как «блок расключения (или распределения) начал обмоток». Такая расшифровка выглядит вполне приемлемой, так как термином «брно двигателя», обозначается клеммная коробка, установленная на его корпусе, и в ней действительно соединяются определенным образом (расключаются) выводы концов обмоток электродвигателя.
Возможно, что причиной появления столь странного для русского языка названия, стало чрезмерное увлечение аббревиатурами в 20 30 х годах, когда и происходила «электрификация всей страны». Название «ГОЭЛРО», кстати, тоже аббревиатура – «Государственный план электрификации России».
Назначение брно
Итак, с этимологией все неопределенно, зато с электротехникой все просто и понятно. Брно электродвигателя, это клеммная коробка, в которой производится соединение выводов обмоток асинхронного электродвигателя. Способ соединения этих выводов, определят схему, по которой будет подключаться двигатель – звезда или треугольник. Выбор схемы включения зависит от конструкции двигателя и напряжения питающей сети. Конструктивно, выпускающиеся в настоящее время отечественные двигатели, рассчитаны на подключение к трехфазной сети 220/380 В по схеме «звезда». Если рассмотреть все варианты, получим следующее:
В редких случаях, применятся комбинированное подключение к сети 220/380 В, когда во время пуска, для уменьшения пусковых токов, двигатель включается звездой, а после старта и набора оборотов – переключается на треугольник. В этом случае концы обмоток выводятся в шкаф управления и брно не используется.
Независимо от происхождения термина «брно», или его вариантов «барно» и «борн», – речь идет о клеммной коробке электродвигателя, в которой коммутируются концы обмоток. Как видно из приведенного выше списка вариантов подключений, такие переключения необходимы при эксплуатации электродвигателей в различных режимах.
Электродвигатель АИР характеристики
| Тип двигателя | Р, кВт | Номинальная частота вращения, об/мин | кпд,* | COS ф | 1п/1н | Мп/Мн | Мmах/Мн | 1н, А | Масса, кг |
| Купить АИР56А2 | 0,18 | 2840 | 68,0 | 0,78 | 5,0 | 2,2 | 2,2 | 0,52 | 3,4 |
| Купить АИР56В2 | 0,25 | 2840 | 68,0 | 0,698 | 5,0 | 2,2 | 2,2 | 0,52 | 3,9 |
| Купить АИР56А4 | 0,12 | 1390 | 63,0 | 0,66 | 5,0 | 2,1 | 2,2 | 0,44 | 3,4 |
| Купить АИР56В4 | 0,18 | 1390 | 64,0 | 0,68 | 5,0 | 2,1 | 2,2 | 0,65 | 3,9 |
| Купить АИР63А2 | 0,37 | 2840 | 72,0 | 0,86 | 5,0 | 2,2 | 2,2 | 0,91 | 4,7 |
| Купить АИР63В2 | 0,55 | 2840 | 75,0 | 0,85 | 5,0 | 2,2 | 2,3 | 1,31 | 5,5 |
| Купить АИР63А4 | 0,25 | 1390 | 68,0 | 0,67 | 5,0 | 2,1 | 2,2 | 0,83 | 4,7 |
| Купить АИР63В4 | 0,37 | 1390 | 68,0 | 0,7 | 5,0 | 2,1 | 2,2 | 1,18 | 5,6 |
| Купить АИР63А6 | 0,18 | 880 | 56,0 | 0,62 | 4,0 | 1,9 | 2 | 0,79 | 4,6 |
| Купить АИР63В6 | 0,25 | 880 | 59,0 | 0,62 | 4,0 | 1,9 | 2 | 1,04 | 5,4 |
| Купить АИР71А2 | 0,75 | 2840 | 75,0 | 0,83 | 6,1 | 2,2 | 2,3 | 1,77 | 8,7 |
| Купить АИР71В2 | 1,1 | 2840 | 76,2 | 0,84 | 6,9 | 2,2 | 2,3 | 2,6 | 10,5 |
| Купить АИР71А4 | 0,55 | 1390 | 71,0 | 0,75 | 5,2 | 2,4 | 2,3 | 1,57 | 8,4 |
| Купить АИР71В4 | 0,75 | 1390 | 73,0 | 0,76 | 6,0 | 2,3 | 2,3 | 2,05 | 10 |
| Купить АИР71А6 | 0,37 | 880 | 62,0 | 0,70 | 4,7 | 1,9 | 2,0 | 1,3 | 8,4 |
| Купить АИР71В6 | 0,55 | 880 | 65,0 | 0,72 | 4,7 | 1,9 | 2,1 | 1,8 | 10 |
| Купить АИР71А8 | 0,25 | 645 | 54,0 | 0,61 | 4,7 | 1,8 | 1,9 | 1,1 | 9 |
| Купить АИР71В8 | 0,25 | 645 | 54,0 | 0,61 | 4,7 | 1,8 | 1,9 | 1,1 | 9 |
| Купить АИР80А2 | 1,5 | 2850 | 78,5 | 0,84 | 7,0 | 2,2 | 2,3 | 3,46 | 13 |
| Купить АИР80А2ЖУ2 | 1,5 | 2850 | 78,5 | 0,84 | 7,0 | 2,2 | 2,3 | 3,46 | 13 |
| Купить АИР80В2 | 2,2 | 2855 | 81,0 | 0,85 | 7,0 | 2,2 | 2,3 | 4,85 | 15 |
| Купить АИР80В2ЖУ2 | 2,2 | 2855 | 81,0 | 0,85 | 7,0 | 2,2 | 2,3 | 4,85 | 15 |
| Купить АИР80А4 | 1,1 | 1390 | 76,2 | 0,77 | 6,0 | 2,3 | 2,3 | 2,85 | 14 |
| Купить АИР80В4 | 1,5 | 1400 | 78,5 | 0,78 | 6,0 | 2,3 | 2,3 | 3,72 | 16 |
| Купить АИР80А6 | 0,75 | 905 | 69,0 | 0,72 | 5,3 | 2,0 | 2,1 | 2,3 | 14 |
| Купить АИР80В6 | 1,1 | 905 | 72,0 | 0,73 | 5,5 | 2,0 | 2,1 | 3,2 | 16 |
| Купить АИР80А8 | 0,37 | 675 | 62,0 | 0,61 | 4,0 | 1,8 | 1,9 | 1,49 | 15 |
| Купить АИР80В8 | 0,55 | 680 | 63,0 | 0,61 | 4,0 | 1,8 | 2,0 | 2,17 | 18 |
| Купить АИР90L2 | 3,0 | 2860 | 82,6 | 0,87 | 7,5 | 2,2 | 2,3 | 6,34 | 17 |
| Купить АИР90L2ЖУ2 | 3,0 | 2860 | 82,6 | 0,87 | 7,5 | 2,2 | 2,3 | 6,34 | 17 |
| Купить АИР90L4 | 2,2 | 1410 | 80,0 | 0,81 | 7,0 | 2,3 | 2,3 | 5,1 | 17 |
| Купить АИР90L6 | 1,5 | 920 | 76,0 | 0,75 | 5,5 | 2,0 | 2,1 | 4,0 | 18 |
| Купить АИР90LA8 | 0,75 | 680 | 70,0 | 0,67 | 4,0 | 1,8 | 2,0 | 2,43 | 23 |
| Купить АИР90LB8 | 1,1 | 680 | 72,0 | 0,69 | 5,0 | 1,8 | 2,0 | 3,36 | 28 |
| Купить АИР100S2 | 4,0 | 2880 | 84,2 | 0,88 | 7,5 | 2,2 | 2,3 | 8,2 | 20,5 |
| Купить АИР100S2ЖУ2 | 4,0 | 2880 | 84,2 | 0,88 | 7,5 | 2,2 | 2,3 | 8,2 | 20,5 |
| Купить АИР100L2 | 5,5 | 2900 | 85,7 | 0,88 | 7,5 | 2,2 | 2,3 | 11,1 | 28 |
| Купить АИР100L2ЖУ2 | 5,5 | 2900 | 85,7 | 0,88 | 7,5 | 2,2 | 2,3 | 11,1 | 28 |
| Купить АИР100S4 | 3,0 | 1410 | 82,6 | 0,82 | 7,0 | 2,3 | 2,3 | 6,8 | 21 |
| Купить АИР100L4 | 4,0 | 1435 | 84,2 | 0,82 | 7,0 | 2,3 | 2,3 | 8,8 | 37 |
| Купить АИР100L6 | 2,2 | 935 | 79,0 | 0,76 | 6,5 | 2,0 | 2,1 | 5,6 | 33,5 |
| Купить АИР100L8 | 1,5 | 690 | 74,0 | 0,70 | 5,0 | 1,8 | 2,0 | 4,4 | 33,5 |
| Купить АИР112M2 | 7,5 | 2895 | 87,0 | 0,88 | 7,5 | 2,2 | 2,3 | 14,9 | 49 |
| Купить АИР112М2ЖУ2 | 7,5 | 2895 | 87,0 | 0,88 | 7,5 | 2,2 | 2,3 | 14,9 | 49 |
| Купить АИР112М4 | 5,5 | 1440 | 85,7 | 0,83 | 7,0 | 2,3 | 2,3 | 11,7 | 45 |
| Купить АИР112MA6 | 3,0 | 960 | 81,0 | 0,73 | 6,5 | 2,1 | 2,1 | 7,4 | 41 |
| Купить АИР112MB6 | 4,0 | 860 | 82,0 | 0,76 | 6,5 | 2,1 | 2,1 | 9,75 | 50 |
| Купить АИР112MA8 | 2,2 | 710 | 79,0 | 0,71 | 6,0 | 1,8 | 2,0 | 6,0 | 46 |
| Купить АИР112MB8 | 3,0 | 710 | 80,0 | 0,73 | 6,0 | 1,8 | 2,0 | 7,8 | 53 |
| Купить АИР132M2 | 11 | 2900 | 88,4 | 0,89 | 7,5 | 2,2 | 2,3 | 21,2 | 54 |
| Купить АИР132М2ЖУ2 | 11 | 2900 | 88,4 | 0,89 | 7,5 | 2,2 | 2,3 | 21,2 | 54 |
| Купить АИР132S4 | 7,5 | 1460 | 87,0 | 0,84 | 7,0 | 2,3 | 2,3 | 15,6 | 52 |
| Купить АИР132M4 | 11 | 1450 | 88,4 | 0,84 | 7,0 | 2,2 | 2,3 | 22,5 | 60 |
| Купить АИР132S6 | 5,5 | 960 | 84,0 | 0,77 | 6,5 | 2,1 | 2,1 | 12,9 | 56 |
| Купить АИР132M6 | 7,5 | 970 | 86,0 | 0,77 | 6,5 | 2,0 | 2,1 | 17,2 | 61 |
| Купить АИР132S8 | 4,0 | 720 | 81,0 | 0,73 | 6,0 | 1,9 | 2,0 | 10,3 | 70 |
| Купить АИР132M8 | 5,5 | 720 | 83,0 | 0,74 | 6,0 | 1,9 | 2,0 | 13,6 | 86 |
| Купить АИР160S2 | 15 | 2930 | 89,4 | 0,89 | 7,5 | 2,2 | 2,3 | 28,6 | 116 |
| Купить АИР160S2ЖУ2 | 15 | 2930 | 89,4 | 0,89 | 7,5 | 2,2 | 2,3 | 28,6 | 116 |
| Купить АИР160M2 | 18,5 | 2930 | 90,0 | 0,90 | 7,5 | 2,0 | 2,3 | 34,7 | 130 |
| Купить АИР160М2ЖУ2 | 18,5 | 2930 | 90,0 | 0,90 | 7,5 | 2,0 | 2,3 | 34,7 | 130 |
| Купить АИР160S4 | 15 | 1460 | 89,4 | 0,85 | 7,5 | 2,2 | 2,3 | 30,0 | 125 |
| Купить АИР160S4ЖУ2 | 15 | 1460 | 89,4 | 0,85 | 7,5 | 2,2 | 2,3 | 30,0 | 125 |
| Купить АИР160M4 | 18,5 | 1470 | 90,0 | 0,86 | 7,5 | 2,2 | 2,3 | 36,3 | 142 |
| Купить АИР160S6 | 11 | 970 | 87,5 | 0,78 | 6,5 | 2,0 | 2,1 | 24,5 | 125 |
| Купить АИР160M6 | 15 | 970 | 89,0 | 0,81 | 7,0 | 2,0 | 2,1 | 31,6 | 155 |
| Купить АИР160S8 | 7,5 | 720 | 85,5 | 0,75 | 6,0 | 1,9 | 2,0 | 17,8 | 125 |
| Купить АИР160M8 | 11 | 730 | 87,5 | 0,75 | 6,5 | 2,0 | 2,0 | 25,5 | 150 |
| Купить АИР180S2 | 22 | 2940 | 90,5 | 0,90 | 7,5 | 2,0 | 2,3 | 41,0 | 150 |
| Купить АИР180S2ЖУ2 | 22 | 2940 | 90,5 | 0,90 | 7,5 | 2,0 | 2,3 | 41,0 | 150 |
| Купить АИР180M2 | 30 | 2950 | 91,4 | 0,90 | 7,5 | 2,0 | 2,3 | 55,4 | 170 |
| Купить АИР180М2ЖУ2 | 30 | 2950 | 91,4 | 0,90 | 7,5 | 2,0 | 2,3 | 55,4 | 170 |
| Купить АИР180S4 | 22 | 1470 | 90,5 | 0,86 | 7,5 | 2,2 | 2,3 | 43,2 | 160 |
| Купить АИР180S4ЖУ2 | 22 | 1470 | 90,5 | 0,86 | 7,5 | 2,2 | 2,3 | 43,2 | 160 |
| Купить АИР180M4 | 30 | 1470 | 91,4 | 0,86 | 7,2 | 2,2 | 2,3 | 57,6 | 190 |
| Купить АИР180М4ЖУ2 | 30 | 1470 | 91,4 | 0,86 | 7,2 | 2,2 | 2,3 | 57,6 | 190 |
| Купить АИР180M6 | 18,5 | 980 | 90,0 | 0,81 | 7,0 | 2,1 | 2,1 | 38,6 | 160 |
| Купить АИР180M8 | 15 | 730 | 88,0 | 0,76 | 6,6 | 2,0 | 2,0 | 34,1 | 172 |
| Купить АИР200M2 | 37 | 2950 | 92,0 | 0,88 | 7,5 | 2,0 | 2,3 | 67,9 | 230 |
| Купить АИР200М2ЖУ2 | 37 | 2950 | 92,0 | 0,88 | 7,5 | 2,0 | 2,3 | 67,9 | 230 |
| Купить АИР200L2 | 45 | 2960 | 92,5 | 0,90 | 7,5 | 2,0 | 2,3 | 82,1 | 255 |
| Купить АИР200L2ЖУ2 | 45 | 2960 | 92,5 | 0,90 | 7,5 | 2,0 | 2,3 | 82,1 | 255 |
| Купить АИР200M4 | 37 | 1475 | 92,0 | 0,87 | 7,2 | 2,2 | 2,3 | 70,2 | 230 |
| Купить АИР200L4 | 45 | 1475 | 92,5 | 0,87 | 7,2 | 2,2 | 2,3 | 84,9 | 260 |
| Купить АИР200M6 | 22 | 980 | 90,0 | 0,83 | 7,0 | 2,0 | 2,1 | 44,7 | 195 |
| Купить АИР200L6 | 30 | 980 | 91,5 | 0,84 | 7,0 | 2,0 | 2,1 | 59,3 | 225 |
| Купить АИР200M8 | 18,5 | 730 | 90,0 | 0,76 | 6,6 | 1,9 | 2,0 | 41,1 | 210 |
| Купить АИР200L8 | 22 | 730 | 90,5 | 0,78 | 6,6 | 1,9 | 2,0 | 48,9 | 225 |
| Купить АИР225M2 | 55 | 2970 | 93,0 | 0,90 | 7,5 | 2,0 | 2,3 | 100 | 320 |
| Купить АИР225M4 | 55 | 1480 | 93,0 | 0,87 | 7,2 | 2,2 | 2,3 | 103 | 325 |
| Купить АИР225M6 | 37 | 980 | 92,0 | 0,86 | 7,0 | 2,1 | 2,1 | 71,0 | 360 |
| Купить АИР225M8 | 30 | 735 | 91,0 | 0,79 | 6,5 | 1,9 | 2,0 | 63 | 360 |
| Купить АИР250S2 | 75 | 2975 | 93,6 | 0,90 | 7,0 | 2,0 | 2,3 | 135 | 450 |
| Купить АИР250M2 | 90 | 2975 | 93,9 | 0,91 | 7,1 | 2,0 | 2,3 | 160 | 530 |
| Купить АИР250S4 | 75 | 1480 | 93,6 | 0,88 | 6,8 | 2,2 | 2,3 | 138,3 | 450 |
| Купить АИР250M4 | 90 | 1480 | 93,9 | 0,88 | 6,8 | 2,2 | 2,3 | 165,5 | 495 |
| Купить АИР250S6 | 45 | 980 | 92,5 | 0,86 | 7,0 | 2,1 | 2,0 | 86,0 | 465 |
| Купить АИР250M6 | 55 | 980 | 92,8 | 0,86 | 7,0 | 2,1 | 2,0 | 104 | 520 |
| Купить АИР250S8 | 37 | 740 | 91,5 | 0,79 | 6,6 | 1,9 | 2,0 | 78 | 465 |
| Купить АИР250M8 | 45 | 740 | 92,0 | 0,79 | 6,6 | 1,9 | 2,0 | 94 | 520 |
| Купить АИР280S2 | 110 | 2975 | 94,0 | 0,91 | 7,1 | 1,8 | 2,2 | 195 | 650 |
| Купить АИР280M2 | 132 | 2975 | 94,5 | 0,91 | 7,1 | 1,8 | 2,2 | 233 | 700 |
| Купить АИР280S4 | 110 | 1480 | 94,5 | 0,88 | 6,9 | 2,1 | 2,2 | 201 | 650 |
| Купить АИР280M4 | 132 | 1480 | 94,8 | 0,88 | 6,9 | 2,1 | 2,2 | 240 | 700 |
| Купить АИР280S6 | 75 | 985 | 93,5 | 0,86 | 6,7 | 2,0 | 2,0 | 142 | 690 |
| Купить АИР280M6 | 90 | 985 | 93,8 | 0,86 | 6,7 | 2,0 | 2,0 | 169 | 800 |
| Купить АИР280S8 | 55 | 740 | 92,8 | 0,81 | 6,6 | 1,8 | 2,0 | 111 | 690 |
| Купить АИР280M8 | 75 | 740 | 93,5 | 0,81 | 6,2 | 1,8 | 2,0 | 150 | 800 |
| Купить АИР315S2 | 160 | 2975 | 94,6 | 0,92 | 7,1 | 1,8 | 2,2 | 279 | 1170 |
| Купить АИР315M2 | 200 | 2975 | 94,8 | 0,92 | 7,1 | 1,8 | 2,2 | 248 | 1460 |
| Купить АИР315МВ2 | 250 | 2975 | 94,8 | 0,92 | 7,1 | 1,8 | 2,2 | 248 | 1460 |
| Купить АИР315S4 | 160 | 1480 | 94,9 | 0,89 | 6,9 | 2,1 | 2,2 | 288 | 1000 |
| Купить АИР315M4 | 200 | 1480 | 94,9 | 0,89 | 6,9 | 2,1 | 2,2 | 360 | 1200 |
| Купить АИР315S6 | 110 | 985 | 94,0 | 0,86 | 6,7 | 2,0 | 2,0 | 207 | 880 |
| Купить АИР315М(А)6 | 132 | 985 | 94,2 | 0,87 | 6,7 | 2,0 | 2,0 | 245 | 1050 |
| Купить АИР315MВ6 | 160 | 985 | 94,2 | 0,87 | 6,7 | 2,0 | 2,0 | 300 | 1200 |
| Купить АИР315S8 | 90 | 740 | 93,8 | 0,82 | 6,4 | 1,8 | 2,0 | 178 | 880 |
| Купить АИР315М(А)8 | 110 | 740 | 94,0 | 0,82 | 6,4 | 1,8 | 2,0 | 217 | 1050 |
| Купить АИР315MВ8 | 132 | 740 | 94,0 | 0,82 | 6,4 | 1,8 | 2,0 | 260 | 1200 |
| Купить АИР355S2 | 250 | 2980 | 95,5 | 0,92 | 6,5 | 1.6 | 2,3 | 432,3 | 1700 |
| Купить АИР355M2 | 315 | 2980 | 95,6 | 0,92 | 7,1 | 1,6 | 2,2 | 544 | 1790 |
| Купить АИР355S4 | 250 | 1490 | 95,6 | 0,90 | 6,2 | 1,9 | 2,9 | 441 | 1700 |
| Купить АИР355M4 | 315 | 1480 | 95,6 | 0,90 | 6,9 | 2,1 | 2,2 | 556 | 1860 |
| Купить АИР355MА6 | 200 | 990 | 94,5 | 0,88 | 6,7 | 1,9 | 2,0 | 292 | 1550 |
| Купить АИР355S6 | 160 | 990 | 95,1 | 0,88 | 6,3 | 1,6 | 2,8 | 291 | 1550 |
| Купить АИР355МВ6 | 250 | 990 | 94,9 | 0,88 | 6,7 | 1,9 | 2,0 | 454,8 | 1934 |
| Купить АИР355L6 | 315 | 990 | 94,5 | 0,88 | 6,7 | 1,9 | 2,0 | 457 | 1700 |
| Купить АИР355S8 | 132 | 740 | 94,3 | 0,82 | 6,4 | 1,9 | 2,7 | 259,4 | 1800 |
| Купить АИР355MА8 | 160 | 740 | 93,7 | 0,82 | 6,4 | 1,8 | 2,0 | 261 | 2000 |
| Купить АИР355MВ8 | 200 | 740 | 94,2 | 0,82 | 6,4 | 1,8 | 2,0 | 315 | 2150 |
| Купить АИР355L8 | 132 | 740 | 94,5 | 0,82 | 6,4 | 1,8 | 2,0 | 387 | 2250 |
Звезда и треугольник
Конструктивно мотор состоит из статора, на котором размещены три обмотки, и ротора. При подаче питающего напряжения, мы создаем вокруг этих обмоток вращающее поле, которое пытается «вытолкнуть» ротор из статора, представляющего собой набор короткозамкнутых витков, заставляя его вращаться.
Взглянем повнимательнее на статор. Он, как было сказано выше, состоит из трех обмоток, соединенных одним из двух способов:
Какая из схем лучше? Соединение «треугольником» обеспечивает более мягкий пуск, и, соответственно, меньшие пусковые токи. Но при таком подключении электродвигатель не развиваем паспортной мощности на валу. При включении «звездой» паспортная мощность развивается полностью, но пусковые токи много больше, что может потребовать специальных мер.
Важно! Есть и еще один нюанс при выборе схемы включения – питающее напряжение. Один и тот же двигатель, включенный по разным схемам, требует разных напряжений питания.
Как узнать мощность мотор-колеса
Чтобы выполнить приблизительный расчет мощности мотор-колеса, нужно:
Силу тока и напряжение нужно замерять под нагрузкой. При отсутствии динамометрического стенда следует подыскать ему альтернативу. Для определения скорости подойдет велокомпьютер. Его показания основываются на расчете оборотов колеса и достаточно точны, если в настройках указан верный диаметр.
Затем нужно создать нагрузку для электромотора. Сделать это можно несколькими способами:
Определение числа оборотов двигателя по диктофону на смартфоне
Для этого вам понадобится современный смартфон с установленной на нем программой диктофона.
При этом запись должна сохраняться и отображаться в графическом виде. Такое к примеру умеет делать прога TapeMachine.
Если у вас подобной нет, придется записать файл в формате mp3, после чего открыть его на компьютере в аудиоредакторе. Дабы ничего не скачивать, воспользуйтесь популярными онлайн сервисами.
Кладете смартфон рядом с двигателем и запускаете движок на холостом ходу. После чего к валу, где должна стоять шпонка, прикладываете жало отвертки.
Диктофон в этот момент должен фиксировать и записывать исходящие звуки ударов отвертки о ребра прорези под шпонку. Если у вас на валу установлен ролик, то можно на конец вала накрутить медную проволоку, а вместо отвертки взять кусок плотного картона (наждачку).
Удары в этом случае будут передаваться от проволоки к картонке. Поработав секунд десять, двигатель можно выключать.
После чего приступаете к анализу графической записи. Тонкая полоса — это звук работы вала.
Большие пики – моменты ударов отвертки. Выберите из всей записи наиболее удачный отрезок и посчитайте количество пиков в 1-ой секунде.
Допустим, их получилось 25шт. В минуту это дает 25*60=1500 оборотов.
Это и есть ваша синхронная частота вращения вала.
Напряжения
Самыми распространенными на сегодняшний день являются трехфазные двигатели на 380/220, 660/380 и 220/127 В. Что это значит, почему напряжения разбиты по парам? Дело в том, что при включении обмоток «звездой» требуется большее напряжение питания. К примеру 380/220 означает, что «звездой» двигатель нужно подключить к сети 380 В (линейное), а треугольником – 220 В (линейное). Поэтому прежде, чем выбирать схему, необходимо определиться, какие электродвигатель и сеть есть в нашем распоряжении.
Ну какое напряжение у нас в доме, мы, конечно, знаем. Осталось разобраться с двигателем. Взглянем на шильдики, расположенные на корпусе моторов. Согласно им оба эти мотора можно включить «треугольником» в сеть 220 В или «звездой» 380 В.
При этом в первом случае ток потребления будет несколько выше. Но, как было замечено выше, есть двигатели и на другое напряжение. Шильдики, фото которых представлены ниже, говорят о том, что их обладатели могут работать по схеме «звезда» в сети 380 и «треугольник» 660 В. Причем один из них (верхнее фото) способен использоваться в сетях 440/760 В, но частота этих сетей должна быть 60 Гц.
Важно! Вполне очевидно, что моторы из обоих примеров можно включить в сеть 380 В, но только по разным схемам – «треугольником» и «звездой» соответственно.
Условные обозначения параметров
Условные обозначения по ГОСТ габаритных размеров электродвигателей марок АИР, 4АМ:
Монтажное исполнение – фланец, лапы, комбинированное
Присоединительный и габаритный чертеж монтажного исполнения электродвигателя АИР на лапах (IM 1081), лапы-фланец (IM 2081), чистый фланец (IM 3081).
Чертеж двигателя на лапах
Чертеж IM2081, IM3081 (лапы-фланец)
Обозначение — маркировка обмоток двигателя
По ГОСТ 26772-85 обмотки трехфазных асинхронных двигателей должны маркироваться буквами:
По старому госту обозначение было несколько иным:
Еще раньше можно было встретить надписи Н1-К1 (начало-конец обмотки №1), Н2-К2, Н3-К3.
На некоторых движках для облегчения распознавания концов обмоток их выводят из разных отверстий на одну или другую сторону. Как например на фото снизу.
Но не всегда можно доверять таким выводам. Поэтому проверить все вручную никогда не помешает.
Если никаких обозначений и букв на барно нет, и вы не знаете, где у вас начало, а где конец обмотки, читайте инструкцию под спойлером.
2 метода определения начала и конца обмоток двигателя (для раскрытия нажмите на плюсик)
В помощники берете мультиметр и устанавливаете его в режим замера сопротивления.
Одним щупом дотрагиваетесь до любого из шести выводов, а другим поочередно прикасаетесь к остальным пяти проводам, тем самым, ища соответствующую пару.
При ее нахождении на табло мультиметра должна высветиться цифра, показывающее некое сопротивление в Омах.
В остальных случаях с другими проводами сопротивление будет равняться бесконечности (обрыв).
Отмечаете данную обмотку бирками и переходите к оставшимся проводам. Таким нехитрым способом буквально за одну минуту можно «вызвонить» концы всех обмоток.
Однако это еще не все. Главная проблема заключается в том, что вы пока не знаете, какой из двух выводов является началом обмотки, а какой ее концом.
Для того, чтобы это выяснить, соединяете между собой по два вывода от разных обмоток. То есть, условное начало V1 первой обмотки, соединяем с условным концом второй обмотки — U2.
При этом у вас пока нет точной информации начало это или конец. Вы их сами так промаркировали для себя, чтобы сделать последующие замеры.
На другие концы этих двух обмоток (U1 и V2) подаете переменное напряжение 220В или меньше. Зависит это от того, на какое напряжение рассчитан ваш движок.
Смысл всего этого действия – замерить какое напряжение появится на концах третьей обмотки W1-W2. Это так называемый метод трансформации.
Если между W1-W2 будет какое-то значение (10-15В или больше), значит первые две обмотки у вас включены согласовано, то есть правильно. Все подписанные концы V1-V2, U1-U2 вы угадали верно.
Бирки на них менять не нужно.
Если же напряжение между W1-W2 будет очень маленьким или его вообще не будет, то получается, что первые две обмотки вы включили по встречной схеме (неправильно). Бирки на одной из обмоток придется поменять местами.
Разобравшись с двумя фазами переходим к третьей. Здесь процедура та же самая. Соединяете между собой условные начало и конец W1 и U2, а на U1 и W2 подаете 220V.
Замеры делаете между выводами V1 и V2. Если угадали, то двигатель может даже запуститься на двух фазах, ну или по крайней мере между V1 и V2 будет несколько вольт.
Если нет, то просто поменяйте местами бирки W1 и W2.
Второй метод определения начала и конца обмоток еще более простой.
Сперва находите три разные обмотки, как было указано выше. Соединяете их последовательно (условный конец первой с началом второй U2-V1, а конец второй с началом третье V2-W1).
На два оставшихся вывода U1-W2 подаете напряжение 220В. После этого поочередно подносите лампочку к концам каждой из обмоток (U1-U2, V1-V2, W1-W2).
Если она горит везде с одинаковой яркостью, то вы угадали со всеми выводами.
Если яркость будет отличаться, это говорит о том, что данная обмотка перевернута по отношению к двум другим.
На ней бирки нужно поменять местами. Вообще-то по ТБ с лампочкой в качестве контрольки уже давно запрещено работать, поэтому вместо нее лучше используйте мультиметр с функцией замера напряжения.
Как переключить обмотки?
Большинство трехфазных электромоторов изготавливаются с открытой схемой – их можно подключить и звездой, и треугольником. Достаточно просто переставить перемычки на распредкоробке БРНА (Блок Распределения (расключения) Начал Обмоток).
Стандартная схема установки перемычек для схем «звезда» и «треугольник» приведена на рисунке ниже.
Но встречаются двигатели, у которых блок распределения имеет всего 3 клеммы. Это означает, что обмотки уже включены по той или иной схеме и их осталось только подключить к сети. К примеру, двигатель, шильдик которого изображен ниже, можно включить только «звездой».
Полезно! При желании и некоторых умениях можно разобрать двигатель, разобраться в обмотках и соединить их по другой схеме. При этом мотор будет отлично работать.
Включаемся в однофазную сеть
оказывается, трехфазный двигатель может работать и от одной фазы. Правда, развиваемая им мощность будет много меньше паспортной, но нередко и этого достаточно. В зависимости от рабочего напряжения самого мотора и напряжения питания обмотки в однофазную сеть можно подключить и «звездой», и треугольником. Для этого понадобится лишь дополнительный фазосдвигающий конденсатор, который будет питать третью обмотку.
Если в нашем распоряжении двигатель с рабочим напряжением 220/127 В, то включаем его по схеме «треугольника»
такие двигатели в настоящее время встречаются намного реже, чем моторы на 380/220 В, поэтому чаще всего включение в однофазную сеть производится по схеме «звезда».
Емкость фазосдвигающего конденсатора, который называют рабочим, зависит от мощности двигателя, и может быть рассчитана по формуле:
Важно! Если мотор во время пуска имеет большую нагрузку на валу, то для надежного его запуска используют дополнительный пусковой конденсатор, кратковременно подключаемый к рабочему. После выхода мотора на номинальную мощность, этот конденсатор нужно отключить.
Схемы включения трехфазного двигателя в однофазную сеть по схеме «треугольник» и «звезда» с пусковым конденсатором
Вот, вроде, и все на тему включения трехфазного асинхронного двигателя. Теперь мы знаем, какими эти моторы бывают, по какой схеме можно соединить их обмотки, каким напряжением запитать и как запустить.
Если не получилось узнать мощность и обороты
Если не получилось узнать мощность и обороты электродвигатели или вы не уверены в измерениях – обращайтесь к специалистам «Систем Качества». Наши специалисты помогут подобрать нужный мотор или провести ремонт сломанного электродвигателя АИР.
В таблице приведена информация о диаметре вала электродвигателя и его размерах в зависимости от мощности и частоты вращения вала.
Подсоединительные размеры электродвигателей приведены по стандарту ГОСТ 2479-79 («по ГОСТУ»). На отечествнном рынке встречаються электродвигатели с подсоединительными размерами по стандарту DIN. В нашей практике чаще всего такие электромоторы встречаются в составе импортного оборудования.
Присоединительные размеры по ГОСТу и по DINу в немногом различаются. Об этих различиях я написал здесь.
И еще: в таблице указаны размеры подсоединения для «стандартного» фланца (IM 2081). На некоторые электромоторы может устанавливаться фланец уменьшенного размера (IM2181, про него наши покупатели говорят: «малый фланец»). Для уточнения размеров «малого» фланцевого соединения свяжитесь с нами.
БАРНО электродвигателя | nataliyatovmach.pro
Ответ:
Аббревиатура – Блок Распределения Начал Обмоток. Правильнее сказать коробка выводов.
Когда в литературе по электротехнике или на форумах встречаются такие термины, как “брно электродвигателя” расшифровка становится увлекательным экскурсом в историю развития электротехники.
Сразу надо оговориться, что сейчас этот термин используется крайне редко.
Услышать его можно от пожилых электриков старой школы, которые козыряют этим словом, заранее зная, что их вряд ли поймут те, к кому они обращаются. Зато это дает им возможность “поучить молодежь”.
Техническая версия происхождения названия
По поводу происхождения этого термина, существует две версии, каждая из которых вполне правдоподобна.
Историко-лингвистическая версия
По второй версии, термин произошел от названия “борн или борны”.
Вот, что по этому поводу говорит словарь Брокгауза и Ефрона: “Борны (иначе называемые клеммами)- в электротехнике означают на динамоэлектрических машинах и других электрических приборах медные зажимы для закрепления проводов (проводников, проволок)”. Если за основную принять эту версию, то становится понятным и другие произношения названия клеммной коробки – “брно электродвигателя”, или “борновая коробка”.
Назначение брно
БРН электродвигателя- это клеммная коробка, в которой производится соединение выводов обмоток асинхронного электродвигателя. Способ соединения этих выводов, определяет схему по которой будет подключаться двигатель – звезда или треугольник.
Выбор схемы включения зависит от конструкции двигателя и напряжения питающей сети. Конструктивно, выпускающиеся в настоящее время отечественные двигатели, рассчитаны на подключение к трехфазной сети 220/380 В по схеме “звезда”. Если рассмотреть все варианты, получаем следующее:
сеть 127/220 В (стандарт применявшийся в СССР до 60-х годов и почти не сохранившийся) – современные двигатели подключаются треугольником.
сеть 220/380 (230/400) В (выпускаются в Западной Европе) – к нашим сетям подключаются только треугольником;
Однофазная сеть 220 В – при подключении трехфазного асинхронного электродвигателя к однофазной сети, с использованием конденсаторов, обмотки соединяются треугольником.
В редких случаях, применяется комбинированное подключение к сети 220/380 В, когда во время пуска, для уменьшения пусковых токов, двигатель включается звездой, а после статора и набора оборотов – переключается на треугольник, В этом случае концы обмоток выводятся в шкаф управления и брно не используется.
Независимо от происхождения термина “брно”, или его вариантов “барно” или “борн”, – речь идет о клеммной коробке электродвигателя, в которой коммутируются концы обмоток.
Поделиться ссылкой:
Виды электродвигателей
Наибольшее распространение имеет трехфазный асинхронный электродвигатель. Электродвигатели постоянного тока и синхронные применяются редко.
Большинство электрифицированных машин нуждаются в приводе мощностью от 0,1 до 10 кВт, значительно меньшая часть — в приводе мощностью в несколько десятков кВт. Как правило, для привода рабочих машин используются короткозамкнутые трехфазные электродвигатели. По сравнению с фазным такой электродвигатель имеет более простую конструкцию, меньшую стоимость, большую надежность в эксплуатации и простоту в обслуживании, несколько более высокие эксплутационные показатели (коэффициент мощности и коэффициент полезного действия), а при автоматическом управлении требует простой аппаратуры. Недостаток короткозамкнутых электродвигателей — относительно большой пусковой ток. При соизмеримости мощностей трансформаторной подстанции и электродвигателя его пуск сопровождается заметным снижением напряжения сети, что усложняет как пуск самого двигателя, так и работу соседних токоприемников.
Наряду с трехфазными асинхронными короткозамкнутыми электродвигателями основного исполнения применяются также отдельные модификации этих двигателей: с повышенным скольжением, многоскоростные, с фазным ротором, с массивным ротором и т. д. Электродвигатели с фазным ротором применяют и в тех случаях, когда мощность питающей сети недостаточна для пуска двигателя с короткозамкнутым ротором.
Механические характеристики асинхронных электродвигателей с короткозамкнутым ротором в значительной мере зависят от формы и размеров пазов ротора, а также от способа выполнения роторной обмотки. По этим признакам
Рис. 1. Кривые моментов M = f(S) асинхронных электродвигателей
различают электродвигатели с нормальным ротором (нормальная беличья клетка), с глубоким пазом и с двумя клетками на роторе. Конструкция ротора короткозамкнутых асинхронных электродвигателей общего назначения мощностью свыше 500 Вт предопределяет явление вытеснения тока в обмотке, эквивалентно увеличению ее активного сопротивления. Поэтому, а также вследствие насыщения магнитных путей потоков рассеивания такие электродвигатели (в первую очередь обмотки ротора) обладают переменными параметрами и аналитические выражения их механических характеристик усложняются. Увеличение активного сопротивления ротора в период пуска вызывает увеличение начального пускового момента при некотором снижении силы начального пускового тока (рис. 1).
Что такое бор?
Что такое бор? Свойства элемента и информация о периодической таблице
Определение элемента бора
Бор существует в виде порошка от темно-коричневого до черного или очень твердого, от темно-черного до серебристо-серого, хрупкого, блестящего, металлоподобный элемент. Он добывается главным образом из кернита и буры и используется в факелах, топливных смесях, элементах управления ядерных реакторов, абразивах и твердых металлических сплавах.Бор содержится в зернах, орехах, зелени и не цитрусовых.
Зачем нужен элемент бор?
Бор был полезен человечеству в виде различных соединений. Существование этого элемента было впервые обнаружено Йенсом Якобом Берцелиусом. Известно, что он широко используется в медицинских и промышленных целях. Прочтите эту статью ScienceStruck, чтобы узнать больше о том, для чего используется элемент бор.
Бор — неметаллический элемент, который встречается в различных формах. Он обозначается символом «B» для химического представления, и его наиболее распространенная форма представляет собой темный порошок, известный как аморфный бор
.Эта форма бора не реагирует на кислород, кислоты, воду и щелочи. Это плохой проводник электричества при комнатной температуре; однако он демонстрирует хорошую проводимость при высоких температурах.
Давайте работать вместе!
Открытие Бора
Соединения бора были известны и использовались в течение тысячелетий, но этот элемент был впервые обнаружен Джонсом Якобом Берцелиусом в 1824 году.До этого он был изолирован в лаборатории совместными усилиями Джозефа Луи Гей-Люссака, Луи Жака Тенара и сэра Хамфри Дэви. Эксперимент по выделению бора проводили путем объединения борной кислоты (H 3 BO 3 ) с калием. Однако задолго до его открытия и изоляции египтяне, китайцы, тибетцы и аравийцы, как известно, использовали соединения бора.
Пятьдесят лет спустя после того, как этот элемент был выделен из его соединений, были получены продукты из неочищенного бора.Эти продукты напоминают как алмаз (борид алюминия (AlB 2 ), так и графит (сложный бор-алюминий-углерод). Бор не интересовал ученых до двадцатого века, но привлек к себе внимание, когда они обнаружили много необычных и сложных соединений. Чистота (около 90%) бора была впервые получена путем восстановления триоксида бора магнием.
Общее использование
Чистящие средства
Наиболее распространенной природной формой этого элемента является бура, и он имеет широкий спектр применения.Он используется в стиральных и чистящих средствах, удобрениях и антипиренах. Бура также используется в качестве осветлителя воды в бассейнах, аквариумах и в эмалях, покрывающих сталь холодильников, стиральных машин и других подобных объектов.
Медикаменты Бор, если его употреблять в предписанном количестве, предотвращает остеопороз, помогая развитию и поддержанию здоровых костей. Он также помогает пациентам с артритом, снижает потерю кальция и магния в моче и повышает уровень эстрогена в сыворотке.
Стекло и керамика Бор используется для производства стекла и керамики. Боросиликат, который представляет собой тип стекла, основными составляющими которого являются кремнезем и оксид бора, обладает хорошей устойчивостью к тепловому удару из-за низкого коэффициента теплового расширения. Duran и Pyrex — два основных типа боросиликатных стекол.
Сплавы Аморфный бор используется в пиротехнических вспышках из-за его характерного зеленого пламени.Бор также является важным компонентом жаропрочных сплавов, и при добавлении в сталь бор обеспечивает дополнительную твердость и прочность при высоких температурах.
Давайте работать вместе!
Инсектициды Борная кислота (H 3 BO 3 ) является важным соединением, используемым в текстильных изделиях, и используется в качестве инсектицида против муравьев, блох и тараканов.Он также используется в качестве мягкого антисептика.
Смазка Боразон (нитрид бора (BN)) — твердый материал, используемый в качестве смазки и абразива. Соединение является изоэлектронным для углерода, и, как и углерод, имеет как гексагональную (графитоподобную), так и кубическую (алмазоподобную) форму.
Флюсовые и ядерные реакторы Бор используется в качестве флюса для пайки серебра и золота. Он также используется с хлоридом аммония для сварки черных металлов.Он часто используется для проведения контролируемых делений в ядерных реакторах из-за его высокого сечения нейтронов и его свойства высокого поглощения нейтронов. Он служит для многих целей в области генерации атомной энергии и часто используется в приборах, предназначенных для обнаружения и счета медленных нейтронов.
Помимо всех видов применения бора и его соединений, упомянутых выше, некоторые бориды также используются для покрытия инструментов, демонстрируя впечатляющее увеличение поверхностного сопротивления, и они также служат более дешевой альтернативой для инструментов с алмазным покрытием.







