клотиковый огонь что это
Клотиковые огни
Огонь круговой на стойке в пластмассовом корпусе.
Используется в качестве стояночного (якорного) огня.
Правила допускают использование его в качестве универсального ходового огня на гребной лодке и парусной яхте длиной менее 7 метров.
Индикаторы, позволяющие отслеживать исправность навигационных огней. Белый или черный циферблат.
Новинка! Клотиковые (круговые) навигационные огни в водонепроницаемых пластиковых корпусах для установки на гребных, надувных лодках и других, не имеющих постоянного электропитания, малых судах.
Производитель: «Attwood», США
Белый навигационный огонь с дугой освещения 360 градусов. Используется в качестве стояночного (якорного) огня. Правила допускают использование его в качестве универсального ходового огня на гребной лодке и парусной яхте длиной менее 7 метров.
Производитель: «ТМС», Тайвань.
Используется в качестве стояночного (якорного) огня. Правила допускают использование его в качестве универсального ходового огня на гребной лодке и парусной яхте длиной менее 7 метров (в этом случае, требуется еще и фонарь для освещения парусов, который включают при приближении другого судна).
Производитель: «Osculati», Италия.
Белый навигационный огонь с дугой освещения 360 градусов. Используется в качестве стояночного (якорного) огня.
Производитель: «Osculati», Италия
Белый навигационный огонь с дугой освещения 360 градусов на стойке высотой 200 мм. Используется в качестве стояночного (якорного) огня.
Производитель: «Osculati», Италия
Белый навигационный огонь с дугой освещения 360 градусов на выдвижной стойке высотой 600 мм. Используется в качестве стояночного (якорного) огня.
Производитель: «Osculati», Италия
Белый навигационный огонь с дугой освещения 360 градусов на стойке высотой 600 мм с разъемным шарнирным соединением у основания.
Производитель: «Osculati», Италия
Белый навигационный огонь с дугой освещения 360 градусов на съемной стойке высотой 600 мм. В комплекте поставляется гнездо с электрическими контактами и защитной крышкой.
Производитель: «Osculati», Италия
Клотиковый (круговой) навигационный огонь. Дальность видимости — 2 мили. Инновационная конструкция линзы Френеля и использование ярких светодиодов обеспечивают отличную дальность видимости и ровную дугу освещения при минимальном потреблении электроэнергии и огромном ресурсе (до 50000 часов работы).
Производитель: «Attwood», США.
Новинка! Клотиковые (круговые) навигационные огни. Дальность видимости – 2 мили. Инновационная конструкция линзы Френеля и использование ярких светодиодов обеспечивают данным огням отличную дальность видимости и ровную дугу освещения при минимальном потреблении электроэнергии и огромном ресурсе (до 50000 часов работы).
Производитель: «Attwood», США.
Уцененный товар, есть незначительные повреждения товарного вида
Белый навигационный огонь с дугой освещения 360 градусов на стойке высотой 200 мм. Используется в качестве стояночного (якорного) огня.
Огонь светодиодный на стойке устанавливается в верхней части судна (на мачте, верхней точке рубки).
Обеспечивает дугу освещения 360° и используется в качестве стояночного (якорного) огня.
Правила допускают использование его в качестве универсального ходового огня на гребной лодке и парусной яхте длиной менее 7 метров.
Лампа светодиодная для клотиковых навигационных огоней 12-24В (13 светодиодов)
НОВОСТИ
Сообщаем Вам.
Что с 08.11.21 магазин «Мореман» Работает в обычном режиме.
Уважаемые Покупатели!
Розничные магазины МОРЕМАН закрыты c 30.10.2021 по 07.11.2021
НО МЫ РАБОТАЕМ ОНЛАЙН!
V Совершить покупки Вы можете в нашем интернет-магазине: www.moreman.spb.ru
V Уточняйте любую интересующую вас информацию по телефонам
с 10.00 до 18.00:
+7-921-903-28-31 или 326-55-70 (МОРЕМАН на пр.Стачек, д.47, к.3)
+7-921-903-29-31 или 496-89-09 (МОРЕМАН на ул.Школьная, д.73 к.2)
Фонари сигнально-отличительные. Типы, свойства, отличия.
В данной статье предлагаем поговорить на тему сигнально-отличительных фонарей, разобраться с основными их понятиями, типами и видами, терминологией, сходствами и различиями. Рассмотрим наиболее распространённые в России типы СОФ с лампой накаливания (либо их светодиодным аналогом с тем же цоколем) сертифицированными отечественными контролирующими органами, взаимозаменяемость фонарей различных производителей их ремонтопригодность. Поговорим о документации, необходимой для эксплуатации фонарей в России.
Сегодня обсуждаемый нами предмет называют по-разному: фонарь светосигнальный, светильник отличительный, навигационный огонь и т.д. Для дальнейшего обсуждения давайте примем единое наименование и сделаем это на основании документов и фактов.
Светотехнический прибор, перераспределяющий световой поток источника света с целью освещения, называется светильником. Светосигнальные приборы, устанавливаемые на всех судах для обеспечения безопасности мореплавания, получили наименование фонарей. Световая сигнализация, обеспечиваемая фонарями, служит для связи судов с берегом и между собой. Световые сигналы в различных сочетаниях имеют разное значение. (Справочник судового электротехника. Т.2. Судовое электрооборудование/Под ред. Г.И. Китаенко – 2-е изд., перераб. и доп. – Л.: Судостроение, 1980.) Самый известный (и единственный) производитель судовых сигнальных фонарей в СССР был завод «Сатурн» и у него он назывался (и называется сегодня) – фонарь сигнально-отличительный. Основываясь на данной информации принимаем и используем в дальнейшем следующую терминологию:
Фонарь сигнально-отличительный (СОФ) – это светосигнальный прибор устанавливаемый на всех судах для безопасности плавания;
Навигационный огонь — совокупность светотехнических приборов (СОФ), предназначенных для обозначения судна, указания его типа, а также характера движения или стоянки в ночное время
То есть обсуждая в данной статье СОФ, мы обсуждаем именно светотехнические-приборы, не огни, состоящие из них. Статей о навигационных огнях в интернете много, и вы можете без труда их найти, например, здесь
Количество навигационных огней, их комбинация и расположение на судне позволяют судоводителю определять тип встречного судна, его габариты, а также направление движения и предпринять необходимые действия для безопасного движения и маневра. Устройство, предназначенное для централизованного управления навигационными огнями, а также для контроля их состояния называется коммутатор сигнально-отличительных фонарей (КСОФ).
Все СОФ должны соответствовать требованиям правил МППСС-72, разработанных для предотвращения столкновения судов на море и внутренних водных путях. В соответствии с МППСС-72, все суда, в темное время суток, должны нести сигнально отличительные огни.
Так как все СОФ являются крайне важными и необходимыми устройствами, в первую очередь, для безопасности мореплавания, существует ряд условий необходимых для их эксплуатации. Ниже указаны основные из них.
Безопасная эксплуатация фонарей гарантируется их конструкцией и выполнением требований по заземлению. Установка устройств заземления на съемных деталях не допускается. Конструкция фонарей должна обеспечивать надежное крепление съемных частей, исключающее возможность их самопроизвольного выпадения при эксплуатации в условиях ударных и вибрационных нагрузок; удобный доступ к местам электрических соединений;многократное открытие и закрытие фонарей без специального инструмента и повреждения уплотнений. Сальники фонарей должны уплотняться специальным устройством или специальной массой при монтаже на месте.
— СОФ должны обеспечивать нормальную работу при температуре окружающей среды от –45 до 45°С;
— СОФ должны быть устойчивы к воздействию морского тумана;
— СОФ должны соответствовать группе условий эксплуатации в части воздействия механических факторов;
— СОФ должны безотказно работать при длительном крене судна 15° и дифференте до 5°, а также при бортовой качке до 40° с периодом качки 7-9 с и килевой качке – до 10° от вертикали;
— в аварийном режиме СОФ должны надежно работать при длительном крене судна до 22,5° и дифференте до 10°, а также при одновременном крене и дифференте (в указанных пределах);
— СОФ должны иметь степень защиты от воздействия окружающей среды IP56 и выше;
Контроль исполнения правил осуществляет Российский Морской Регистр Судоходства (РМРС) и Российский Речной Регистр (РРР).
На суда с различной длиной устанавливаются огни разной интенсивности и соответственно, с различной дальностью видимости. Дальность видимости огней должна составлять:
Для эксплуатации всех типов СОФ необходимо наличие разрешительных документов РМРС и/или РРР.
Для одобрения РМРС необходимы следующие документы:
1. Свидетельство о типовом одобрении (СТО) по форме 6.8.3
2. Свидетельство РМРС по форме 6.5.30 или 6.5.31
Для одобрения РРР необходимы эти документы:
1. Сертификат на изделие по форме РР-8.1
Все СОФ с лампой накаливания (или её светодиодным аналогом) отечественных и иностранных производителей различаются между собой по ряду признаков:
· По способу крепления – стационарные и подвесные;
· По цвету линзы – прозрачные, красные, зелёные, оранжевые, синие, молочные;
· По углу видимости – 112,5; 135; 180; 225; 360;
· По конструктивному исполнению – одинарные, сдвоенные;
· По напряжению питания – от 12 до 220 вольт;
· По мощности (для ламп накаливания) – 15, 25, 60, 65, 80, 85;
· По источнику света – лампа накаливания, светодиодная лампа;
· По типу патрона – E27, P28S, B15d (2Ш15), BAY15d, B22d (2Ш22), специальный;
· Па материалу корпуса – алюминиевый сплав, сталь, нержавеющая сталь, латунь, поликарбонат;
· По температуре окружающей среды – общеклиматические и арктические;
Обратим внимание, что перечислены наиболее встречающиеся в гражданском судоходстве признаки, для облегчения изложения и практического применения полученных из данной статьи знаний. Мы намеренно не указываем все возможные вариации т.к. их слишком много и вероятность их применения в повседневной гражданской практике крайне мала.
Типы патронов, применяемые в СССР назывались иначе, но по сути они те же, что и перечислены выше – Т34 (Е27), Н183 (Е27), Т80 (Е27), ЭП174 (2Ш22), 2Ш15-36МНКв (2Ш15), 2Ш22-250МФКв (2Ш22).
Теперь давайте разберёмся с замысловатыми (и не очень) названиями навигационных огней, именно огней, а не фонарей, но так как некоторые типы фонарей предназначены исключительно для обозначения этих огней, то и фонари называются соответственно, и некоторые производители пишут эти названия на фонарях, поэтому мы их и рассмотрим.
Бортовой правый (port side light) – зелёный огонь светит вперёд и вбок от диаметральной плоскости судна в секторе 112,5° так, что каждый сектор освещения бортового огня занимает ровно половину сектора освещения топового.
Бортовой левый (starboard light) – красный огонь, с тем же описанием, что и предыдущий.
Клотиковый (signal light) – огонь белого, красного, зелёного и синего цветов, светит вокруг в секторе 360° и предназначен для сигнализации в ночное время посредством азбуки Морзе.
Кильватерный (steering light) – огонь синего или белого цвета в секторе 7-10° предназначенный для удержания строя идущими друг за другом судами.
Гафельный (haffle light) – круговой 360° огонь красного цвета, для обозначения военного судна.
Флагманский (flagship light) – военный огонь белого света в секторе 135° обозначающий присутствие на борту старшего военноначальника.
Гюйсштоковый – огонь синего цвета. Предназначен для ориентировки рулевого при вождении судна.
Пожалуй, и хватит. Правда существует ещё много обозначений огней таких как: «рыболовный», «лишен возможности управляться», «ограничен в возможности маневрировать», «лоцманский», «водолазный», «тральный», «кильский» и прочие, но это, повторим ещё раз, названия для обозначения ОГНЕЙ и типы фонарей, используемые для их обозначения могут быть одни и те же, просто применяется различная конфигурация их расположения и цветов.
Устройство и конструкция СОФ.
Конструкция СОФ достаточно простая. В целом все они устроены по одному принципу и конструктивно отличаются друг от друга размером, количеством кабельных вводов и способом крепления (стационарные и подвесные). Ниже обобщённый рисунок с конструкцией СОФ.
Материал корпуса большинства современных СОФ – поликарбонат специального состава, разработанного для данного типа изделий. Он обладает высокой механической прочностью, устойчивостью к перепадам температур и воздействию внешних факторов. Наряду с ним также применяются алюминиевые сплавы и нержавеющая сталь.
Линзы и цилиндры изготовляются также из поликарбоната или из силикатного стекла определенной цветности или бесцветные. Кольцевые линзы Френеля применяются в тех СОФ где требуется увеличенная дальность видимости, цилиндры там, где в этом нет необходимости.
Сейчас в мире производятся фонари более сложных конструкций с добавлением функций ранее не присущих СОФ таких как: автономное питание (фонарь работает при отключении бортовой энергетической сети), саморегулирующийся подогрев внутреннего пространства фонаря (для арктических условий работы), возможность изменения цветовой гаммы света и интенсивности его излучения. Но эти все фишки применяются исключительно в светодиодных СОФ, а они тема уже другой статьи.
Ну а теперь давайте посмотрим, как выглядят современные (и не очень) СОФ, кто их производит и какие у них сходства и отличия.
БЛОГ ЭЛЕКТРОМЕХАНИКА
Блог судового электромеханика. Электроника, электромеханика и автоматика на судне. Обучение и практика. В помощь студентам и специалистам
15.03.2012
Судовые осветительные приборы (старого образца)
Рассмотрим основные типы судовых осветительных приборов.
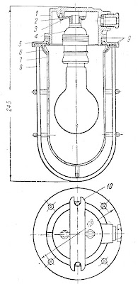
Отличительные сигнальные огни. К ним относятся водозащищенные отличительные бортовые, топовые и гака- бортные (фонари) и сигнальный клотиковый огонь. Корпуса этих световых приборов отливаются из алюминиевого сплава — силумина. На рис. 1 изображен внешний вид отличительного бортового огня (фонаря) типа БФ. На правом борту ставят правые отличительные бортовые огни, на левом — левые отличительные бортовые огни. По конструкции они являются зеркальным отображением друг друга и различаются цветами светофильтров — специально изготовленного цветного стекла. В правом огне устанавливается зеленый светофильтр, в левом — красный.
К специальным приливам на наружной стороне крышки 8 привинчена ручка 15. Для ввода проводов служит сальник 16 с резиновым уплотнением. Винт 17 предназначен для заземления корпуса прибора (т. е. для соединения с металлическим корпусом судна).
Водозащищенность в стыках разъемных частей прибора обеспечивается применением резиновых прокладок 18 при сборке неразъемных частей применяется специальная замазка (свинцовый глет с глицерином); в фокусирующем приспособлении применена набивка зазоров 19 войлоком.
Устанавливаемый на мачтах топовый огонь типа ТФ по конструкции аналогичен отличительному бортовому огню. Разница заключается лишь в том, что фонарь ТФ снабжен несколько большей по размерам линзой и не имеет цветного светофильтра, так как цвет сигнала топового огня должен быть белым.
На рис. 3 показан внешний вид устанавливаемого на корме гакабортного огня типа ГФ; этот фонарь вместо линзы имеет прозрачное защитное стекло, в связи с чем у него отсутствует фокусирующее приспособление.
Брызгозащищенные светильники. Наиболее широко применяются на судах подпалубные брызгозащищенные светильники, устанавливаемые для освещения палуб, кладовых, камбузов, производственных и технических помещений. Корпус подпалубного светильника отливается из силумина или бронзы; последняя менее подвержена коррозии, чем силумин, а поэтому там, где нельзя изолировать светильник от действия морской воды, водяных паров и т. п. (котельное отделение, открытые палубы и т. д.), рекомендуется применять бронзовые светильники. Корпуса этих светильников изготавливают также из пластмассы.
На рис. 5 представлен внешний вид подпалубного светильника с одним сальником, а на рис. 6 — разрез этого светильника и вид на него сверху с указанием основных размеров в миллиметрах.
Светильник состоит из литого корпуса 1, в котором двумя винтами 2 укреплен патронодержатель 3 с патроном 4. Корпус светильника соединен посредством резьбы с фланцем 5 и укрепленным на нем зажимным кольцом 6. Для предохранения стеклянного колпака 7 от механических повреждений в зажимное кольцо вклепана защитная металлическая сетка 8. Стеклянный колпак зажат между фланцем и зажимным кольцом.
Брызгонепроницаемость обеспечивается также равномерной затяжкой зажимного кольца с фланцем и фланца с корпусом.
Брызгонепроницаемость светильника достигается при помощи резиновых прокладок 9, проложенных между корпусом и фланцем, между фланцем и стеклянным колпаком и между стеклянным колпаком и зажимным кольцом.
Крепление светильника к месту установки осуществляется при помощи выступающих лапок 10 с прорезями для болтов. Провода вводят в светильник через сальник с резиновым или асбестобитумным уплотнением. В светильнике применяются лампы с нормальным цоколем мощностью до 60 вт, напряжением 110 или 220 в в зависимости от напряжения судовой осветительной сети. Кроме описанного подпалубного светильника с одним сальником, изготовляются светильники с двумя рядом расположенными сальниками, с двумя проходными сальниками и с тремя сальниками.
Светильник с двумя рядом расположенными сальниками применяется в тех случаях, когда осветительная проводка выполняется одножильным кабелем и, следовательно, к светильнику подводятся два кабеля, для ввода каждого из которых требуется отдельный сальник.
На судах применяются, кроме рассмотренных подпалубных светильников, и другие брызгозащищенные осветительные приборы, предназначенные как для общего, так и для местного освещения, в том числе переносные (употребляемые при ремонтных, уборочных и грузовых работах) и подвесные.
Каютные светильники. Для освещения жилых кают и судовых общественных помещений (кают-компаний, салонов, ресторанов, столовых, красных уголков и т. д.) применяются светильники защищенного исполнения.
Общее освещение перечисленных помещений обеспечивается потолочными плафонами различных типов. Плафоны эти по числу установленных ламп подразделяются на одноламповые, двухламповые и трехламповые. Иногда в плафоне, помимо ламп общего освещения, устанавливают и лампу малого аварийного освещения.
Для местного освещения (у зеркал, умывальников, в изголовьях кроватей) применяют различного типа бра и надкоечные светильники, а на письменных столах — настольные лампы. На рис. 8 изображены некоторые типы каютных светильников, широко распространенные на судах: а — одноламповый открытый плафон; б — трехламповый защищенный плафон; в — открытое стенное бра.
На рис. 9 приведены новые типы каютных светильников, разработанные в последние годы: а — одноламповый плафон СС-360, г б — трехламповый плафон с лампой аварийного освещения СС-361, в — бра одноламповое СС-341, г — бра двухламповое СС-345.
Прожекторы. На судах морского флота из двух видов прожекторов (дуговых и ламповых) преимущественное распространение получил ламповый прожектор. Прожектор на судне имеет несколько назначений: он служит для навигационных целей (например, используется в ночное время при подходе судна к порту, во время швартовных операций), для сигнализации, освещения палубы при ночных работах, для наружного охранного освещения.
Чтобы удовлетворять этим целям, прожектор должен обладать очень большой силой света.
Значительное усиление света достигается применением в судовом прожекторе специальной отражательной системы.
Изображенный на рис. 10 судовой прожектор, рассчитанный на лампу в 1000 вт, размещен на тумбе, которая прикрепляется болтами к палубе судна. Прожектор может вращаться как в горизонтальной, так и в вертикальной плоскостях, поэтому мы можем придать его световому потоку требуемое направление.
Отражатель этого прожектора изготовляется из латуни или железа и хромируется; диаметр отражателя равен 450 мм.
Прожектор снабжен фокусирующим приспособлением, позволяющим устанавливать лампу в фокусе отражателя, и крышкой из листового железа, закрываемой, когда прожектор не работает.




































